车界趣闻

拜腾汽车关联公司再被执行,累计12次,超700万元

点击量:    时间:2025-01-23 14:48
文章作者:车轮征途 

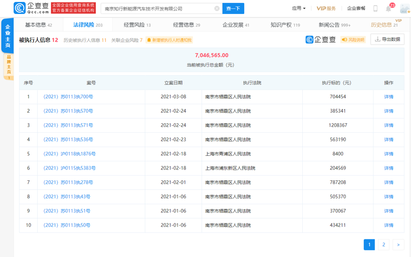
企查查APP显示,3月8日,拜腾汽车关联公司南京知行新能源汽车技术开发有限公司新增一条被执行人信息,案号为(2021)苏0113执700号,执行标的70余万,由南京市栖霞区人民法院执行。 

据企查查风险显示,自2020年至今,拜腾汽车已被累计执行12次,被执行总标的超700万人民币,该公司目前已被列为失信被执行人。


拜腾汽车关联公司法律风险,图片来源:企查查

对于拜腾来说,过去的2020年是其最艰难的时刻。融资无果,毕福康、戴雷两位创始人又接连离职,让拜腾一度陷入寸步难行的困境。

一位知情人士称,拜腾汽车在CEO戴雷还未离职之前就在讨论公司破产的可能,彼时拜腾汽车距实现量产还差近5亿美元。

这种状态一直持续到今年1月份。2021年1月4日,拜腾汽车与富士康科技集团、南京经济技术开发区正式签署了战略合作框架协议,合力加速推进拜腾首款车型M-Byte的量产制造工作,力争在2022年第一季度前实现该车型量产。据消息人士透露,作为协议的一部分,富士康将投资2亿美元用于SUV研发和生产项目,并将帮助建立电动汽车生产的供应链,以降低汽车制造成本。

找到了“续命钱”,沉寂已久的拜腾终于有了复苏的迹象。拜腾首席事务官丁清芬在社交平台上还发了一条朋友圈:“We are back。”

2月初,外媒又传出其计划最早于今年上市的信息。据悉,该公司正在与一家特殊目的收购公司(SPAC)进行谈判,拟通过合并上市。

新的融资和上市计划把拜腾汽车从生死线上拉了回来。资本的投入能否支撑拜腾汽车活到M-Byte量产上市呢?我们拭目以待。